Suppr超能文献

用于过滤空气传播的新型冠状病毒(COVID-19)和纳米气溶胶的静电纳米纤维过滤器。

Electrostatic charged nanofiber filter for filtering airborne novel coronavirus (COVID-19) and nano-aerosols.

作者信息

Leung Wallace Woon Fong, Sun Qiangqiang

机构信息

Mechanical Engineering, The Hong Kong Polytechnic University, Hung Hom, Hong Kong.

出版信息

Sep Purif Technol. 2020 Nov 1;250:116886. doi: 10.1016/j.seppur.2020.116886. Epub 2020 Apr 22.

Abstract

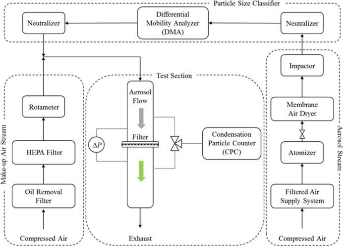
The World Health Organization declared the novel coronavirus (COVID-19) outbreak as a pandemic on March 12, 2020. Within four months since outbreak in December 2019, over 2.6 million people have been infected across 210 countries around the globe with over 180,000 deaths. COVID-19 has a size of 60-140 nm with mean size of 100 nm (i.e. nano-aerosol). The virus can be airborne by attaching to human secretion (fine particles, nasal/saliva droplets) of infected person or suspended fine particulates in air. While NIOSH has standardized N95, N99 and N100 respirators set at 300-nm aerosol, to-date there is no filter standards, nor special filter technologies, tailored for capturing airborne viruses and 100-nm nano-aerosols. The latter also are present in high number concentration in atmospheric pollutants. This study addresses developing novel charged PVDF nanofiber filter technology to effectively capture the fast-spreading, deadly airborne coronavirus, especially COVID-19, with our target aerosol size set at 100 nm (nano-aerosol), and not 300 nm. The virus and its attached aerosol were simulated by sodium chloride aerosols, 50-500 nm, generated from sub-micron aerosol generator. PVDF nanofibers, which were uniform in diameter, straight and bead-free, were produced with average fiber diameters 84, 191, 349 and 525 nm, respectively, with excellent morphology. The fibers were subsequently electrostatically charged by corona discharge. The amounts of charged fibers in a filter were increased to achieve high efficiency of 90% for the virus filter but the electrical interference between neighbouring fibers resulted in progressively marginal increase in efficiency yet much higher pressure drop across the filter. The quality factor which measured the efficiency-to-pressure-drop kept decreasing. By redistributing the fibers in the filter into several modules with lower fiber packing density, with each module separated by a permeable, electrical-insulator material, the electrical interference between neighboring charged fibers was reduced, if not fully mitigated. Also, the additional scrim materials introduced macropores into the filter together with lower fiber packing density in each module both further reduced the airflow resistance. With this approach, the quality factor can maintain relatively constant with increasing fiber amounts to achieve high filter efficiency. The optimal amounts of fiber in each module depended on the diameter of fibers in the module. Small fiber diameter that has already high performance required small amounts of fibers per module. In contrast, large diameter fiber required larger amounts of fibers per module to compensate for the poorer performance provided it did not incur significantly additional pressure drop. This approach was applied to develop four new nanofiber filters tailored for capturing 100-nm airborne COVID-19 to achieve over 90% efficiency with pressure drop not to exceed 30 Pa (3.1 mm water). One filter developed meeting the 90% efficiency has ultralow pressure drop of only 18 Pa (1.9 mm water) while another filter meeting the 30 Pa limit has high efficiency reaching 94%. These optimized filters based on rigorous engineering approach provide the badly needed technology for protecting the general public from the deadly airborne COVID-19 and other viruses, as well as nano-aerosols from air pollution which lead to undesirable chronic diseases.

摘要

2020年3月12日,世界卫生组织宣布新型冠状病毒(COVID-19)疫情为大流行。自2019年12月爆发以来的四个月内,全球210个国家已有超过260万人感染,死亡人数超过18万。COVID-19大小为60 - 140纳米,平均大小为100纳米(即纳米气溶胶)。该病毒可通过附着在感染者的人体分泌物(细颗粒、鼻/唾液飞沫)或空气中悬浮的细颗粒物上实现空气传播。虽然美国国家职业安全与健康研究所(NIOSH)已将N95、N99和N100呼吸器针对300纳米气溶胶进行了标准化,但迄今为止,尚无专门为捕获空气传播病毒和100纳米纳米气溶胶而定制的过滤标准或特殊过滤技术。后者在大气污染物中也以高数量浓度存在。本研究致力于开发新型带电聚偏氟乙烯纳米纤维过滤技术,以有效捕获快速传播的致命空气传播冠状病毒,尤其是COVID-19,我们设定的目标气溶胶大小为100纳米(纳米气溶胶),而非300纳米。病毒及其附着的气溶胶由亚微米气溶胶发生器产生的50 - 500纳米氯化钠气溶胶模拟。制备出的聚偏氟乙烯纳米纤维直径均匀、笔直且无珠,平均纤维直径分别为84、191、349和525纳米,形态优异。随后通过电晕放电使纤维带电。过滤器中带电纤维的数量增加,以使病毒过滤器的效率达到90%,但相邻纤维之间的电干扰导致效率逐渐边际增加,同时过滤器两端的压降大幅升高。衡量效率与压降关系的品质因数持续下降。通过将过滤器中的纤维重新分布到几个纤维堆积密度较低的模块中,每个模块由可渗透的电绝缘材料隔开,相邻带电纤维之间的电干扰得以减少,即便未完全消除。此外,额外的稀松材料在每个模块中引入大孔并降低纤维堆积密度,两者都进一步降低了气流阻力。通过这种方法,品质因数可随着纤维数量增加保持相对恒定,以实现高过滤效率。每个模块中纤维的最佳数量取决于模块中纤维的直径。已经具有高性能的小直径纤维每个模块所需的纤维量较少。相比之下,大直径纤维每个模块需要更多的纤维来弥补较差的性能,前提是不会产生显著的额外压降。此方法被应用于开发四种新型纳米纤维过滤器,专为捕获100纳米空气传播的COVID-19而设计,以实现超过90%的效率,且压降不超过30帕(3.1毫米水柱)。开发出的一种达到90%效率的过滤器具有仅18帕(1.9毫米水柱)的超低压降,而另一种符合30帕限制的过滤器具有高达94%的高效率。这些基于严格工程方法优化的过滤器为保护公众免受致命的空气传播COVID-19和其他病毒以及来自空气污染的纳米气溶胶(其会导致不良慢性疾病)提供了急需的技术。

https://cdn.ncbi.nlm.nih.gov/pmc/blobs/cd9e/7175919/dae6d88ee289/gr1a_lrg.jpg

文献AI研究员

20分钟写一篇综述,助力文献阅读效率提升50倍。

立即体验

用中文搜PubMed

大模型驱动的PubMed中文搜索引擎

马上搜索

文档翻译

学术文献翻译模型,支持多种主流文档格式。

立即体验