Suppr超能文献

自动校准血压波测量设备。

Automatic Calibration of a Device for Blood Pressure Waveform Measurement.

机构信息

Faculty of Mechanical and Power Engineering, Wrocław University of Science and Technology, 50-370 Wrocław, Poland.

Department of Neurosurgery, Wrocław Medical University, 50-425 Wrocław, Poland.

出版信息

Sensors (Basel). 2023 Sep 20;23(18):7985. doi: 10.3390/s23187985.

Abstract

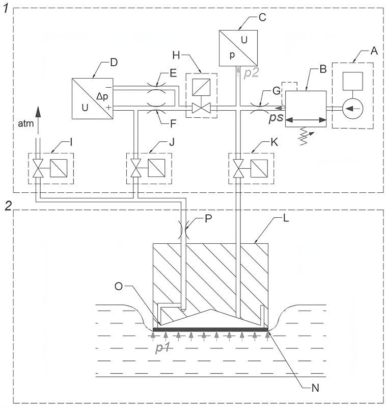
This article presents a prototype of a new, non-invasive, cuffless, self-calibrating blood pressure measuring device equipped with a pneumatic pressure sensor. The developed sensor has a double function: it measures the waveform of blood pressure and calibrates the device. The device was used to conduct proof-of-concept measurements on 10 volunteers. The main novelty of the device is the pneumatic pressure sensor, which works on the principle of a pneumatic nozzle flapper amplifier with negative feedback. The developed device does not require a cuff and can be used on arteries where cuff placement would be impossible (e.g., on the carotid artery). The obtained results showed that the systolic and diastolic pressure measurement errors of the proposed device did not exceed ±6.6% and ±8.1%, respectively.

摘要

这篇文章介绍了一种新型的、非侵入式、无袖带、自校准血压测量设备的原型,该设备配备了气动压力传感器。所开发的传感器具有双重功能:它可以测量血压波形并校准设备。该设备已在 10 名志愿者身上进行了概念验证测量。该设备的主要新颖之处在于气动压力传感器,它基于带有负反馈的气动喷嘴挡板放大器原理工作。所开发的设备不需要袖带,并且可以用于袖带放置不可能的动脉(例如颈动脉)。所获得的结果表明,所提出的设备的收缩压和舒张压测量误差分别不超过±6.6%和±8.1%。

https://cdn.ncbi.nlm.nih.gov/pmc/blobs/2525/10536530/f75c2e627afb/sensors-23-07985-g001.jpg

文献AI研究员

20分钟写一篇综述,助力文献阅读效率提升50倍。

立即体验

用中文搜PubMed

大模型驱动的PubMed中文搜索引擎

马上搜索

文档翻译

学术文献翻译模型,支持多种主流文档格式。

立即体验