Suppr超能文献

新辅助治疗后直肠癌患者的显著病理缓解:回顾性队列研究的手术和肿瘤学结果。

Significant Pathologic Response Following Neoadjuvant Therapy and Curative Resection in Patients With Rectal Cancer: Surgical and Oncological Outcomes From a Retrospective Cohort Study.

机构信息

Endoscopic and Minimally Invasive Surgery Research Center, Mashhad University of Medical Sciences, Mashhad, Iran.

Department of Biostatistics, Ilam University of Medical Sciences, Ilam, Iran.

出版信息

Cancer Rep (Hoboken). 2024 Nov;7(11):e70041. doi: 10.1002/cnr2.70041.

Abstract

AIM

This study evaluated surgical complication rates, recurrence-free survival, overall survival (OS), and stoma status of patients with rectal cancer after significant pathologic response following neoadjuvant treatment and curative resection. Pathologic complete response (pCR) and near-pCR patients constitute patients in our study.

METHODS

Included was a retrospective cohort study of patients with rectal cancer who were diagnosed between July 2011 and September 2022 and who underwent neoadjuvant therapy and surgical resection.

RESULTS

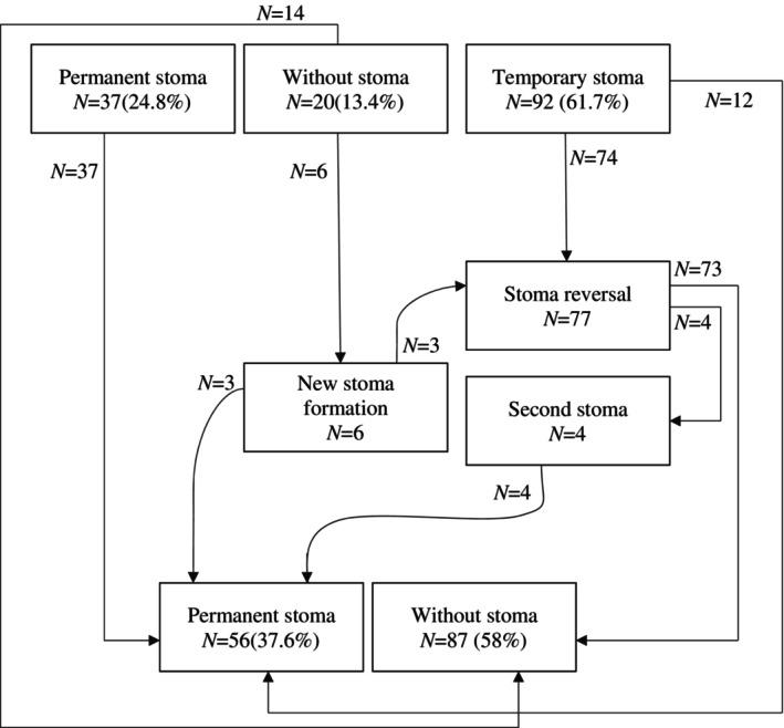
Of 696 patients with rectal cancer, 149 (21.4%) cases achieved significant pathologic response. During the 64 (70.5) months of follow-up, recurrence occurred in 16.1% of patients and distant metastases account for the majority of them. Age (p = 0.014) and receiving adjuvant chemotherapy (p = 0.016) were significantly related to the occurrence of recurrence. The five-year recurrence-free survival (RFS) and OS rates were obtained at 83% and 87%, respectively. Although age and surgical technique were significant factors in univariate Cox regression analysis, none of the candidate variables were significant prognostic factors for RFS in the multiple models. The risk of surgical complications remained in these patients. The most frequent complication attributed to infection (20.8%). Despite the 24.8% presence of permanent stoma at primary surgery, more than 50% of our patients lived without stoma at the last follow-up.

CONCLUSION

Our recurrence rate was about 16%, and it was related to age and adjuvant chemotherapy. These patients achieved over 80% rates of five-year RFS and OS. No significant prognostic factors were found on RFS in the multivariable model. As a matter of course, the risk of surgical complications and permanent stoma has still remained in these patients.

摘要

目的

本研究评估了新辅助治疗和根治性切除后发生显著病理缓解的直肠癌患者的手术并发症发生率、无复发生存率、总生存率(OS)和造口状态。病理完全缓解(pCR)和接近 pCR 的患者构成了我们研究中的患者群体。

方法

这是一项回顾性队列研究,纳入了 2011 年 7 月至 2022 年 9 月期间诊断为直肠癌并接受新辅助治疗和手术切除的患者。

结果

在 696 例直肠癌患者中,149 例(21.4%)患者获得了显著的病理缓解。在 64 个月(70.5)的随访期间,16.1%的患者出现复发,其中大多数为远处转移。年龄(p=0.014)和接受辅助化疗(p=0.016)与复发的发生显著相关。五年无复发生存率(RFS)和总生存率(OS)分别为 83%和 87%。虽然年龄和手术技术在单因素 Cox 回归分析中是显著因素,但在多模型中,没有候选变量是 RFS 的显著预后因素。这些患者仍然存在手术并发症的风险。最常见的并发症归因于感染(20.8%)。尽管初次手术中永久性造口的存在率为 24.8%,但在最后一次随访时,超过 50%的患者无需造口。

结论

我们的复发率约为 16%,与年龄和辅助化疗有关。这些患者五年 RFS 和 OS 率超过 80%。多变量模型中未发现 RFS 的显著预后因素。当然,这些患者仍然存在手术并发症和永久性造口的风险。

https://cdn.ncbi.nlm.nih.gov/pmc/blobs/c3b9/11541061/2a4e2a7a110e/CNR2-7-e70041-g002.jpg

文献AI研究员

20分钟写一篇综述,助力文献阅读效率提升50倍。

立即体验

用中文搜PubMed

大模型驱动的PubMed中文搜索引擎

马上搜索

文档翻译

学术文献翻译模型,支持多种主流文档格式。

立即体验